MESIN LITAI
Jul 22 2022
LITAI MACHINERY
Apa itu mesin thermoforming gelas plastik otomatis ? Nah, ini adalah pertanyaan yang akan ditanyakan oleh semua orang yang baru mengenal industri ini. Sederhananya, ini adalah mesin untuk memproduksi gelas plastik. Namun, ada pertanyaan lain yang mungkin kita hadapi. Dalam artikel ini, Litai, pemasok mesin thermoforming gelas plastik otomatis , akan fokus pada pertanyaan tentang mesin thermoforming gelas plastik otomatis, yang bertujuan agar Anda dapat memahami mesin ini dengan jelas. Selain itu, mesin thermoforming gelas plastik otomatis dari Litai akan diperkenalkan di akhir artikel ini, Anda dapat mengklik di sini untuk membuka halaman produk terkait agar terbiasa dengan mesin ini. Jika Anda ingin mengetahui lebih lanjut tentang detail pengiriman dan layanan purnajual, silakan hubungi kami secara langsung.
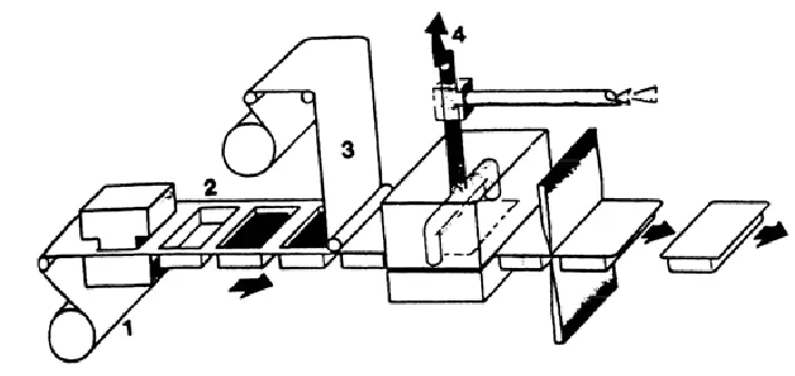
Mesin thermoforming gelas plastik otomatis (juga dikenal sebagai mesin vulkanisasi datar, mesin vulkanisasi karet, pengepres tablet kecil, pengepres tablet otomatis) adalah sejenis mesin cetak, yang cocok untuk polimer dalam industri karet dan plastik seperti PVC, masterbatch, dan bahan baku kimia lainnya. Dapat digunakan sebagai dasar untuk batching sebelum produksi massal di pabrik. Bahan baku plastik atau karet ditempatkan dalam cetakan, diapit di antara pelat pemanas listrik atas dan bawah, dan tekanan diterapkan di bawah suhu konstan cerdas pelat pemanas listrik untuk membuat bentuk bahan baku.

Bahan yang umum digunakan untuk gelas air plastik adalah kaca ruang angkasa dan plastik AS. Kaca ruang angkasa, juga dikenal sebagai plastik rekayasa PC, merupakan bahan yang banyak digunakan di seluruh dunia, dan komponen utamanya adalah polikarbonat. Ringan dan tahan lama, bahan ini memiliki insulasi, pemanjangan, stabilitas dimensi, ketahanan kimia, dan kekuatan, ketahanan panas, dan dingin yang sangat baik. Bahan ini juga memiliki kelebihan seperti dapat padam sendiri, tahan api, tidak beracun, dan dapat diwarnai. Kekurangannya adalah kekerasannya kurang memadai dibandingkan dengan logam, yang membuat tampilannya lebih mudah tergores.
Plastik AS merupakan kopolimer dari akrilonitril (A) dan stirena (S). Plastik ini memiliki ketahanan cuaca sedang dan tidak terpengaruh oleh lingkungan dengan tingkat kelembapan tinggi. Plastik ini tahan terhadap minyak biasa, deterjen, dan alkohol ringan. Plastik ini memiliki ketahanan lelah yang buruk dan tidak mudah retak karena tekanan internal, dan bahan ini memiliki transparansi yang tinggi. Plastik ini sering digunakan untuk membuat produk plastik seperti baki, gelas air, peralatan makan, sikat gigi, cermin instrumen, dan kotak kemasan.
Cetakan injeksi dari mesin thermoforming gelas plastik otomatis menggunakan sifat termofisika plastik untuk menambahkan material dari hopper ke dalam tong, yang dipanaskan oleh cincin pemanas di luar tong untuk melelehkan material. Material tersebut secara bertahap diplastiskan, dilelehkan, dan dihomogenkan di bawah aksi ganda geser sekrup. Saat sekrup berputar, material akan mendorong material yang meleleh ke kepala sekrup di bawah aksi gaya gesek dan gaya geser alur jatuh.
Pada saat yang sama, sekrup mundur di bawah reaksi material, sehingga kepala sekrup membentuk ruang penyimpanan dan menyelesaikan proses plastisisasi. Kemudian, di bawah aksi piston silinder injeksi, sekrup menyuntikkan material cair di ruang penyimpanan melalui nosel dengan kecepatan tinggi dan tekanan tinggi. Di rongga cetakan, setelah material cair di rongga dipertahankan tekanannya, didinginkan, dipadatkan, dan dibentuk, cetakan membuka cetakan di bawah aksi mekanisme penjepit, dan produk yang dibentuk dikeluarkan dari cetakan melalui perangkat ejektor.

Ini adalah akhir artikel ini, pertanyaan lebih lanjut dan jawaban terkait akan tercantum dalam artikel berikutnya.
Mesin thermoforming otomatis penuh seri TTF adalah produk inti terbaru yang kami kembangkan. Mesin thermoforming gelas plastik otomatis ini menggabungkan proses pembentukan, pelubangan, pemotongan, dan penumpukan. Banyak digunakan dan cocok untuk sebagian besar permintaan pelanggan, mesin ini dapat memproduksi baki plastik, wadah, kotak, tutup, dll. Mesin ini sepenuhnya digerakkan oleh motor servo. Pengoperasian yang stabil, kebisingan rendah, efisiensi tinggi, kualitas tinggi.

Antarmuka manual industri dan PLC SIEMENS (Jerman) menghasilkan otomatisasi tingkat tinggi, kontrol akurat, dan pengoperasian mudah. Fungsi penyimpanan dokumen menyederhanakan proses operasional.
Stasiun kerja digerakkan oleh struktur empat pilar pemandu yang stabil (baja GCr15, bagian luar dilapisi krom keras). Tahan aus, dan memperpanjang umur peralatan.
Servomotor peregangan YASKAWA (Jepang) mengontrol kecepatan die atas dan bawah, ini dapat mempertahankan kekuatan yang seragam untuk memastikan ketebalan dasar setiap cup seragam. Dan servomotor peregangan YASKAWA (Jepang) mengontrol kecepatan die atas dan bawah, ini dapat mempertahankan kekuatan yang seragam untuk memastikan ketebalan dasar setiap cup seragam.
Sistem penggerak hidrolik dapat memberikan kecepatan gerak yang memadai dan daya pukul yang kuat.
Seluruh bagian digerakkan oleh sistem hidrolik yang andal dan stabil. Penggunaan proximity switch dari ROCKWELL (USA) menghasilkan presisi posisi cetakan yang sangat baik.
Pemanas menambahkan kapas isolasi vakum, yang menunjukkan tingkat respons cepat, waktu pemrosesan singkat, dan hemat energi.
Rantai tajam menggunakan 65#Mn, yang memiliki kekuatan lebih tinggi, ketahanan panas dan elastisitas lebih baik daripada baja 45#.
Pompa oli pelumas listrik dapat secara otomatis menyuntikkan oli pelumas secara teratur dan kuantitatif melalui kontrol komputer di bawah kondisi kontrol tak berawak, yang dapat membuat rotasi
Motor servo pengumpanan lembaran mengadopsi merek YASKAWA, buatan Jepang, daya terukur 3Kw, memastikan operasi stabil dalam proses pengumpanan.
LITAI MACHINERY CO, LTD didirikan pada tahun 2001. Selama lebih dari 20 tahun, misi perusahaan kami adalah mewujudkan produksi mesin pengemasan plastik otomatis. Kami fokus pada penelitian, pengembangan, pembuatan, dan pemasaran mesin thermoforming empat/tiga stasiun, mesin thermoforming gelas plastik, mesin thermoforming plastik BOPS, ekstruder lembaran PP/PS/PET multi-lapis, cetakan, dll. Kami adalah produsen pertama di dalam negeri yang memproduksi gelas plastik dalam satu jalur dengan thermoforming, pelubangan, pemotongan, penumpukan, pengiriman, penghitungan, dan pengemasan secara otomatis.
